Η υπερτροφοδότηση μπορεί να αποτελεί μία σχετικά νέα μόδα αλλά η ύπαρξη της πάει πολύ πίσω στον χρόνο…
Πως μπορεί να βελτιωθεί η απόδοση μίας ΜΕΚ δίχως να μεταβληθεί η χωρητικότητα των κυλίνδρων; Με την συμπίεση περισσότερου αέρα, την γνωστή μέθοδο υπερτροφοδότησης ή υπερπλήρωσης (turbocharger για στροβιλοσυμπιεστές με κίνηση από καυσαέρια, superchargers για τους μηχανικούς με κίνηση από τον στροφαλοφόρο).
Το Twin-Scroll και η υπόλοιπη τούρμπο παρέα!
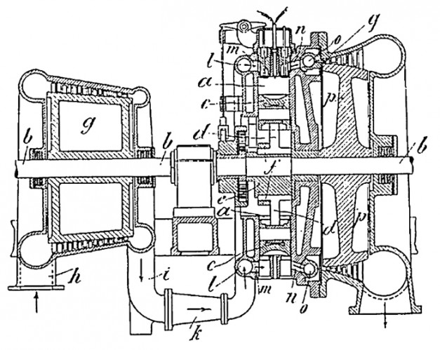
Αν και η πρώτη πατέντα για την υπερτροφοδότηση κατοχυρώθηκε από τον Büchi το 1905 (δύο χρόνια μετά την αποφοίτησή του από το Πολυτεχνείο της Ζυρίχης) η χρήση του τούρμπο στο αυτοκίνητο εμφανίσθηκε πολύ αργότερα, στους αγώνες τέλη της δεκαετίας του 1930. Ο Büchi είχε νωρίτερα (το 1915) κάνει πολλές παρουσιάσεις και είχε κατασκευάσει πρωτότυπα τούρμπο για κινητήρες αεροσκαφών ώστε να περιορίσει το πρόβλημα της περιορισμένης σε O2 ποσότητας αέρα στα μεγάλα υψόμετρα.
Στην πράξη όμως το βαρύ -τότες- σύστημα δεν λειτούργησε ποτέ για περισσότερο από μερικές ώρες λόγω της υψηλής πίεσης. Τελικά, το 1925 όπως προαναφέραμε, κατάφερε να ταιριάξει με επιτυχία ένα υπερτροφοδότη σε κινητήρα ντίζελ βελτιώνοντας την απόδοσή του έως 40%! Και πάλι, όμως, η ιδέα του Büchi ήταν για εκείνα τα χρόνια πολύπλοκη και ακριβή.
Αυτό το υβριδικό Toyota Sports 800 του 1977 είχε κινητήρα τζετ!
