Η BMW κατοχύρωσε βίδα με το λογότυπό της και ειδικό σχήμα που δεν αφαιρείται με κοινά εργαλεία. Μοιάζει με λεπτομέρεια, αλλά για όσους κάνουν δουλειές μόνοι τους, η σημασία είναι μεγάλη.
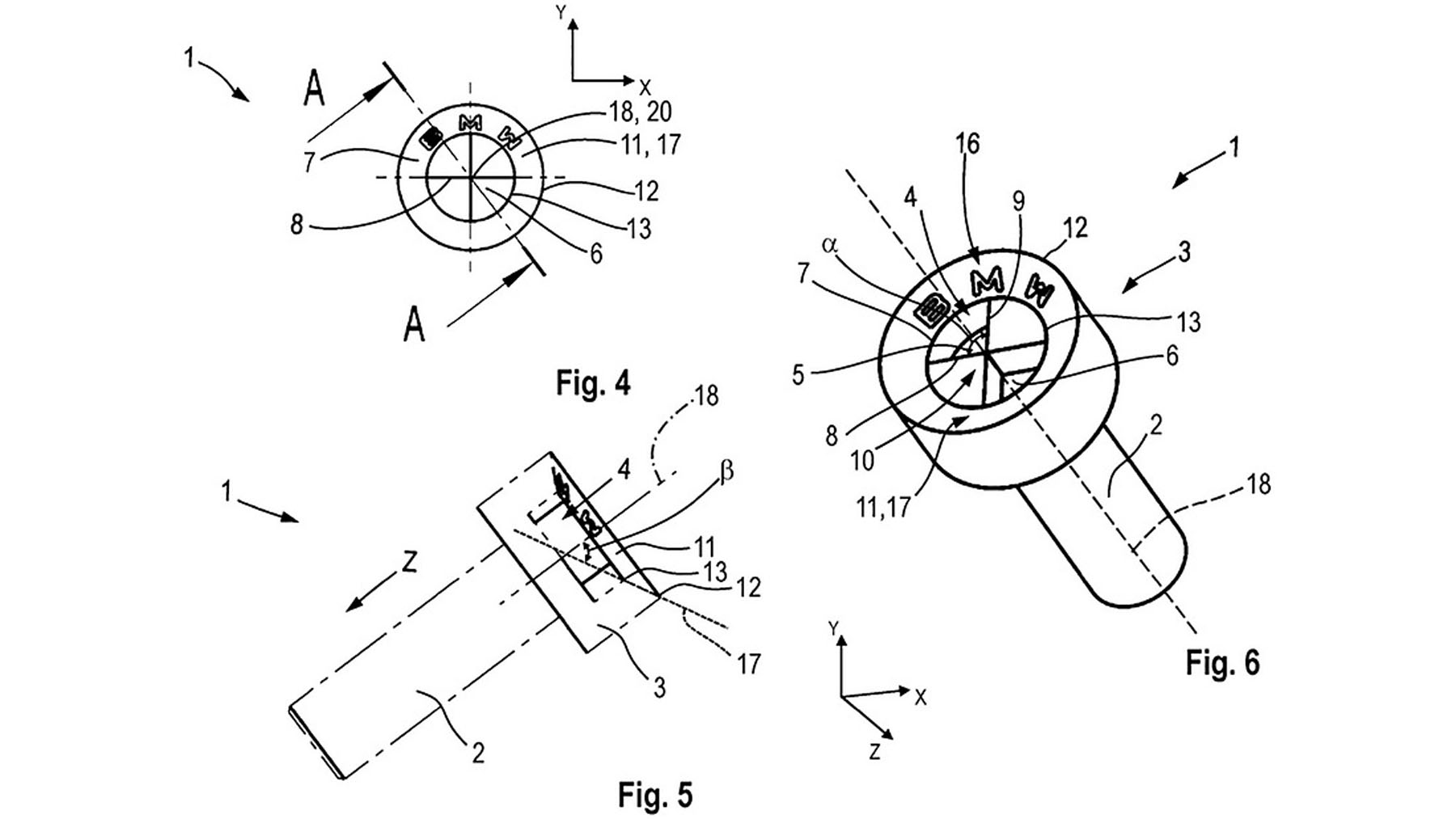
Η BMW φαίνεται πως σχεδιάζει έναν ακόμη τρόπο να κρατά τον έλεγχο των επεμβάσεων στα αυτοκίνητά της. Σύμφωνα με νέα πατέντα που δημοσιεύτηκε πρόσφατα από τον Παγκόσμιο Οργανισμό Πνευματικής Ιδιοκτησίας (WIPO), ο βαυαρικός όμιλος κατοχύρωσε ένα νέο τύπο βίδας, με κεφαλή που σχηματίζει το λογότυπο της BMW – τον χαρακτηριστικό κυκλικό προπέλα.
Αν και σχεδιαστικά η βίδα μπορεί να φαίνεται ελκυστική για τους φίλους της μάρκας, το βασικό θέμα δεν είναι η εμφάνιση, αλλά η λειτουργικότητα. Η συγκεκριμένη βίδα έχει τέτοια γεωμετρία που δεν μπορεί να αφαιρεθεί ή να σφιχτεί με συμβατικά εργαλεία. Σύμφωνα με το κείμενο της πατέντας, στόχος είναι να περιορίζεται η δυνατότητα παρέμβασης μόνο σε «εξουσιοδοτημένο προσωπικό».
Η BMW αναφέρει ότι τέτοιες βίδες θα μπορούσαν να χρησιμοποιηθούν στο εσωτερικό του αυτοκινήτου, για παράδειγμα στη στήριξη της κονσόλας, του ταμπλό ή των καθισμάτων πάνω στο αμάξωμα. Το σχέδιο προβλέπει διαφορετικές κεφαλές (φακοειδείς, κυλινδρικές, βυθισμένες), με διαφορετικά μεγέθη και γωνίες. Κοινό στοιχείο; Καμία δεν ανοίγει με τυπικό κατσαβίδι.
Για τον μέσο χρήστη, ίσως να μην αλλάζει κάτι άμεσα. Όμως για όποιον συνηθίζει να κάνει μόνος του εργασίες ή επισκευές, αυτή η πατέντα μπορεί να είναι σημαντικός περιορισμός. Δεν προβλέπεται να διατεθεί αντίστοιχο εργαλείο στους πελάτες, κάτι που σημαίνει ότι για κάθε εργασία που αφορά αυτά τα σημεία, το αυτοκίνητο θα πρέπει να πηγαίνει σε επίσημο συνεργείο.
Και εδώ αρχίζει το πραγματικό ζήτημα. Αν και επίσημα η πατέντα αφορά την «προστασία από μη εξουσιοδοτημένες παρεμβάσεις», είναι εύλογο να σκεφτεί κανείς ότι πρόκειται για μια στρατηγική που ενισχύει τον έλεγχο της aftersales αγοράς, περιορίζοντας τη δυνατότητα επιλογής για τους ιδιοκτήτες και ενισχύοντας το εισόδημα των συνεργείων της μάρκας.
Το αν η συγκεκριμένη πατέντα θα φτάσει ποτέ στην παραγωγή δεν είναι βέβαιο. Όπως συμβαίνει με πολλές κατοχυρώσεις, μπορεί να παραμείνει στα χαρτιά. Ωστόσο, η τάση είναι σαφής: τα αυτοκίνητα γίνονται πιο κλειστά συστήματα και ο ιδιοκτήτης έχει ολοένα και λιγότερο έλεγχο. Και το γεγονός ότι όλα αυτά ξεκινούν από μία απλή βίδα, δεν είναι καθόλου τυχαίο.
