Παρότι έχει σχεδόν εξαφανιστεί από την αυτοκίνηση, ο δίχρονος κινητήρας συνεχίζει να έχει τεχνικό ενδιαφέρον χάρη στην απλότητα και τις ιδιαιτερότητές του. Aλλά και στα σχέδια για την πιθανή επιστροφή του;
Οι δίχρονοι κινητήρες είχαν κάποτε σημαντικό ρόλο στην παγκόσμια αυτοκινητοβιομηχανία. Από την DKW της μεταπολεμικής Δυτικής Γερμανίας μέχρι τα Trabant και Wartburg της Ανατολικής, αποτέλεσαν μια φθηνή, απλή και συμπαγή λύση για τη μαζική μετακίνηση.
Με την επανένωση της Γερμανίας και την εξέλιξη των τεχνολογικών και περιβαλλοντικών απαιτήσεων, το δίχρονο σύστημα πέρασε στο περιθώριο. Ωστόσο, τεχνολογίες όπως αυτές που εξελίσσει η Mazda δείχνουν ότι ίσως δεν έχει ειπωθεί η τελευταία λέξη.
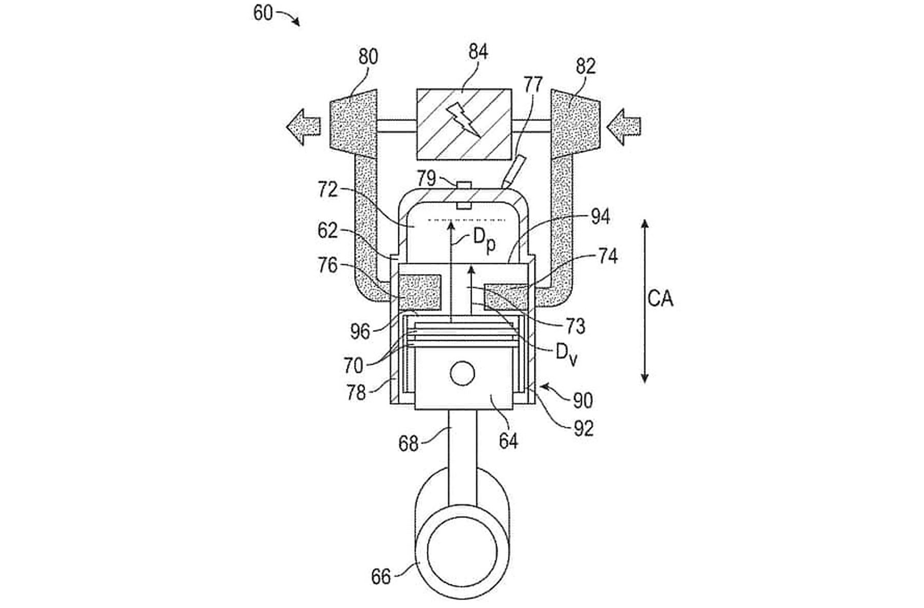
Η βασική λειτουργία ενός δίχρονου κινητήρα διαφέρει ριζικά από αυτήν ενός τετράχρονου. Ο δίχρονος ολοκληρώνει όλες τις φάσεις λειτουργίας (εισαγωγή, συμπίεση, καύση και εξαγωγή) σε μόλις δύο διαδρομές του εμβόλου, αντί για τέσσερις.
Καθώς το έμβολο ανεβαίνει, δημιουργείται υποπίεση στο στροφαλοθάλαμο που τραβάει μέσα το μείγμα καυσίμου-αέρα. Όταν φτάσει κοντά στο ανώτατο σημείο, το μείγμα αναφλέγεται και ωθεί το έμβολο προς τα κάτω, συμπιέζοντας ταυτόχρονα το επόμενο μείγμα.
Κατά την κάθοδο, ανοίγουν τα κανάλια εξαγωγής και εισαγωγής, επιτρέποντας την απομάκρυνση των καυσαερίων και την είσοδο του φρέσκου μείγματος.
Χάρη σε αυτόν τον τρόπο λειτουργίας, ένας δίχρονος κινητήρας είναι πιο απλός, πιο ελαφρύς και πιο συμπαγής από έναν τετράχρονο αντίστοιχης ισχύος. Δεν απαιτείται σύστημα βαλβίδων, κάτι που μειώνει το κόστος παραγωγής και τα μηχανικά μέρη.
Επιπλέον, παράγει ισχύ σε κάθε περιστροφή του στροφαλοφόρου άξονα, γεγονός που τον καθιστά πιο ικανό σε ό,τι αφορά την απόδοση ανά λίτρο κυβισμού.
Ωστόσο, αυτές οι ιδιαιτερότητες είναι και η αιτία των βασικών του μειονεκτημάτων. Επειδή οι θύρες εισαγωγής και εξαγωγής ανοίγουν ταυτόχρονα και ελέγχονται μόνο από τη θέση του εμβόλου, μέρος του καυσίμου χάνεται μαζί με τα καυσαέρια πριν προλάβει να καεί.
Αυτό δημιουργεί αυξημένη κατανάλωση, έντονη οσμή, χαρακτηριστικό μπλε καπνό και υψηλές εκπομπές ρύπων. Επιπλέον, επειδή ο κινητήρας δεν έχει ξεχωριστό σύστημα λίπανσης, το λάδι καίγεται μαζί με το καύσιμο, εντείνοντας τα παραπάνω προβλήματα. Ο θόρυβος είναι επίσης έντονος, λόγω της συνεχούς ανάφλεξης.
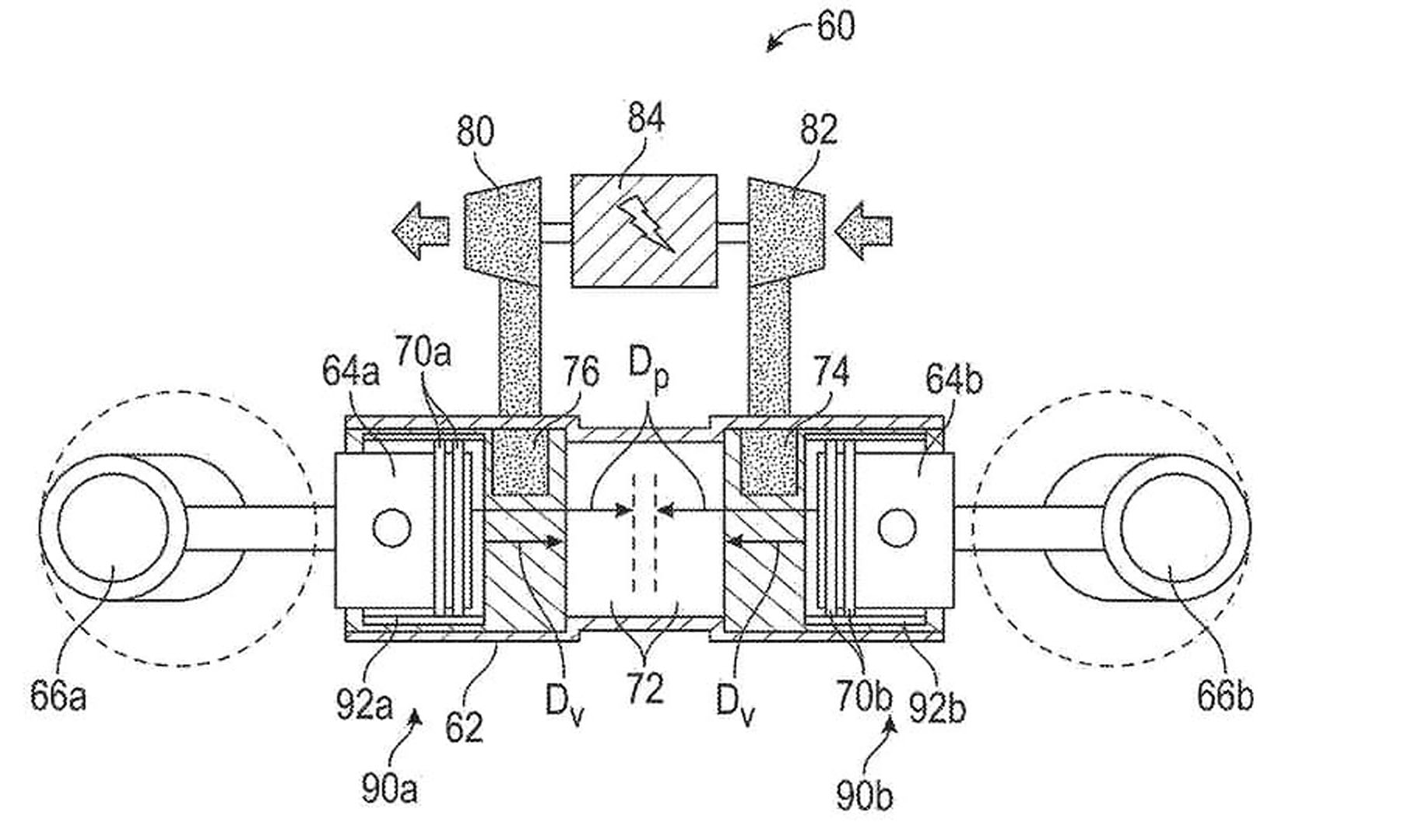
Παρόλα αυτά, κάποιες εταιρείες επανεξετάζουν το συγκεκριμένο σύστημα, με στόχο να διατηρήσουν τα πλεονεκτήματά του διορθώνοντας τα μειονεκτήματα. Η Mazda, η General Motors και η αμερικανική startup Alpha-Otto Technologies πειραματίζονται με δίχρονους κινητήρες που περιλαμβάνουν βαλβίδες και δακτυλίους στεγανοποίησης για καλύτερη καύση και χαμηλότερους ρύπους.
Ορισμένα από τα σχέδια βασίζονται και σε υπερσυμπιεστές ή σε νέες μορφές ψεκασμού. Αν και οι προτάσεις αυτές είναι ακόμη σε πρώιμο στάδιο, δείχνουν ότι υπάρχει τεχνικό ενδιαφέρον για μια πιθανή επιστροφή των δίχρονων κινητήρων σε νέες μορφές.
Συνοψίζοντας, ο δίχρονος κινητήρας ήταν κάποτε ένα θεμελιώδες στοιχείο της αυτοκίνησης, κυρίως για λόγους κόστους και απλότητας. Αν και οι αδυναμίες του τον έθεσαν εκτός παιχνιδιού, οι νέες τεχνολογικές λύσεις θα μπορούσαν να του δώσουν μια δεύτερη ευκαιρία — έστω κι αν αυτή δεν αφορά άμεσα την ευρεία παραγωγή.
