Μετά την εξαγορά της τεχνολογίας VTES από την Valeo και την κατοχύρωση ανάλογης πατέντας από την BMW το ζήτημα του ηλεκτρικού τούρμπο επανέρχεται στην επικαιρότητα…
- Μπορεί απλά να μπει στο συρτάρι με τις υπόλοιπες άλλες πατέντες, μπορεί και να φέρει μία μικρή επανάσταση στον τομέα της υπερτροφοδότησης. Εδώ και καιρό δημο0σιεύματα του βρετανικού και γερμανικού Τύπου κάνουν λόγο για μία νέα τεχνολογία της BMW στα συστήματα υπερτροφοδότησης με την χρήση ενός επιπλέον στροβίλου που δεν θα κινείται από τα καυσαέρια αλλά από έναν ηλεκτροκινητήρα! Όπως θα δούμε ο ρόλος του ηλεκτρικού τούρμπο είναι “επικουρικός“ αφού βελτιώνει την χρονική υστέρηση και δεν αφήνει να πάει χαμένο κανένα μέρος ενέργειας από το σύστημα.
- Δεν πρόκειται για μία νέα τεχνολογία αλλά η ανάγκη για συμμόρφωση στις προδιαγραφές Euro καθώς και η εξέλιξη της ηλεκτρονικής περιορίζει τα μειονεκτήματα που υπήρχαν στο παρελθόν (turbo lag, αυξημένη κατανάλωση-ρύποι κ.α.). Ωστόσο, ένα από τα ζητήματα που απασχολούν ακόμη τους ειδικούς έχει να κάνει με το μέγεθος του turbo υιοθετώντας διάφορες λύσεις τύπου twin scroll ή σειραϊκή υπερτροφοδότηση. Οι ειδικοί της BMW αναζητούν την ενδιάμεση λύση πατεντάροντας μία τεχνολογία που περιλαμβάνει ηλεκτροκίνητο υπερτροφοδότη δημιουργώντας ένα υβριδικό turbo.
Ανάλυσέ το…
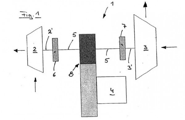
- Σε παλαιότερο άρθρο είχαμε αναφέρει κάποια φήμη που θέλει την BMW να εξελίσσει ένα νέο tri-turbo V6 κινητήρα που θα τοποθετηθεί στην επερχόμενη F80 Μ3. Αν και η πληροφορία αυτή δεν έχει ακόμη επιβεβαιωθεί η BMW προχώρησε στην κατοχύρωση πατέντας με ηλεκτρικό υπερτροφοδότη την οποία κατοχύρωσε πριν από μερικούς μήνες στο γραφείο ευρεσιτεχνίας στην Γερμανία, σύμφωνα με το www.bimmerpost.com, το οποίο έχει… εξασφαλίσει και τα κάτωθι σχέδια, όπου:
[1] διάταξη στροβιλοσυμπιεστή
[2] στρόβιλος
[2′] άξονας στροβίλου
[3] συμπιεστής
[3′] άξονας συμπιεστή
[4] ηλεκτροκινητήρας (μαζί με το δυναμό)
[5] άξονας στροβιλοσυμπιεστή
[6] συμπλέκτης (στον άξονα του στροβίλου)
[7] συμπλέκτης (στον άξονα του συμπιεστή)
[8] μετάδοση
Να υπενθυμίσω πως ένα παραδοσιακό σύστημα τούρμπο αποτελείται από δύο στροβίλους: έναν από την πλευρά της εξαγωγής (στρόβιλος) ώστε να χρησιμοποιείται η κινητική ενέργεια των καυσαερίων και έναν από την πλευρά της εισαγωγής (συμπιεστή) ώστε να αυξάνεται η παροχή αέρα στους κυλίνδρους. Οι δύο στρόβιλοι περιστρέφονται με την ίδια ταχύτητα έχοντας κοινό άξονα περιστροφής.
Στην πατέντα της BMW ο στρόβιλος [2] και ο συμπιεστής [3] μπορούν να έχουν διαφορετική ταχύτητα αφού στα άκρα του άξονα του στροβιλοσυμπιεστή [5] υπάρχουν δύο “συμπλεκτάκια” [6 & 7]. Έτσι, ο άξονας του στροβίλου [2′] και ο άξονας του συμπιεστή [3′] μπορούν να κινούνται ανεξάρτητα. Ή να μην εμπλέκονται καθόλου! Αυτό είναι το τρικ της ΒΜW. Αποδεσμεύοντας το μηχανικό turbo σε συνθήκες χαμηλού φορτίου τα συμπλεκτάκια ανοίγουν και ο ηλεκτροκινητήρας [4] λειτουργεί δίχως κανένα φορτίο. Μέσω του συστήματος μετάδοσης [8] η ταχύτητα του ηλεκτροκινητήρα και του άξονα του στροβιλοσυμπιεστή μπορεί να προσαρμοστεί ανάλογα με τις απαιτήσεις κίνησης εξασφαλίζοντας μειωμένη κατανάλωση και ρύπους.
Όταν ο οδηγός πατήσει το πεντάλ του γκαζιού τότε το συμπλεκτάκι [7] κλειδώνει και εμπλέκει τον ηλεκτροκινητήρα [4] με τον στρόβιλο [3]. Λόγω της αδράνειας κατά την περιστροφή του ηλεκτροκινητήρα η μεταφορά της κίνησης στον άξονα του συμπιεστή είναι άμεση συμπιέζοντας περισσότερο αέρα, βελτιώνοντας την απόκριση του κινητήρα με την ελάχιστη δυνατή χρονική υστέρηση (turbo lag). Ο «αποκομμένος» στρόβιλος [2] δεν επιβαρύνει με την ροπή αδράνειας του υπόλοιπου στροβιλοσυμπιεστή αφού το συμπλεκτάκι [6] παραμένει ανοιχτό.
Μόλις η περιστροφική ταχύτητα του στροβίλου [2] φτάσει στο επιθυμητό επίπεδο το συμπλεκτάκι [6] κλειδώνει και μαζί με τον ηλεκτροκινητήρα δίνουν πλήρη και άμεση ώθηση στον συμπιεστή [3].Μόλις η περιστροφική ταχύτητα του στροβίλου [2] φτάσει στο επιθυμητό επίπεδο το συμπλεκτάκι [6] κλειδώνει και μαζί με τον ηλεκτροκινητήρα δίνουν πλήρη και άμεση ώθηση στον συμπιεστή λις η περιστροφική ταχύτητα του στροβίλου [2] φτάσει στο επιθυμητό επίπεδο το συμπλεκτάλις η περιστροφική ταχύτητα του στροβίλου [2] φτάσει στο επιθυμητό επίπεδο το συμπλεκτά
Όταν επιτευχθεί η μέγιστη πίεση τότε η λειτουργία του ηλεκτροκινητήρα αναστρέφεται σε γεννήτρια παράγοντας ενέργεια για την μπαταρία. Παράλληλα με αυτό τον τρόπο αποφεύγεται η περίπτωση υπερπίεσης κάνοντας την wastegate να μοιάζει περιττή ενώ το σύστημα εκμεταλλεύεται και την χαμένη ενέργεια. Τώρα, στην περίπτωση που ο οδηγός τραβήξει το πόδι του από το γκάζι τότε και τα δύο συμπλεκτάκια [6 & 7] ξεκλειδώνουν και ο ηλεκτροκινητήρας μπορεί να λειτουργεί δίχως κανένα φορτίο από τον άξονα του στροβίλου ή του συμπιεστή.
Ακόμη και αν η παραπάνω πατέντα δεν περάσει ποτέ στην παραγωγή δεν παύει να είναι μία ευφάνταστη ιδέα που για ακόμη μία φορά αναδεικνύει την αέναη δημιουργικότητα των μηχανικών…






