NEA

Υβριδικό από την Yamaha το 2010

yamaha-hybrid-motorcycle-for-production-9

Εδώ και αρκετά χρόνια η Yamaha εξελίσσει ένα υβριδικό δίκυκλο. Οι τελευταίες πληροφορίες το θέλουν να κάνει το ντεμπούτο το 2010 στο Τόκιο και να παίρνει το δρόμο της παραγωγής…

  • Το 2005 η ιαπωνική εταιρία είχε παρουσιάσει στο Τόκιο το πρωτότυπο υβριδικό Gen-Ryu και δύο χρόνια αργότερα το επίσης πρωτότυπο LUXAIR. Το πρώτο project εφοπλιζόταν με τον τετρακύλινδρο του R6 χωρητικότητας 600 κ.εκ. με έναν ηλεκτροκινητήρα που μαζί έστελναν την ροπή στον πίσω τροχό. Στο υβριδικό παραγωγής αναμένεται να δούμε ένα μονοκύλινδρο των 150 κ.εκ. που έχει ωστόσο ανάλογη απόδοση με το πρωτότυπο. Ποιο είναι το νόημα μίας υβριδικής μοτοσικλέτας; Ουσιαστικά, πολύ μικρό. Ιστορικά, τεράστιο αφού η Yamaha μπορεί να γίνει η πρώτη εταιρία στα υβριδικά δίκυκλα. «Κάντο όπως η Toyota», όπως λέει και ένα βιβλίο του management…
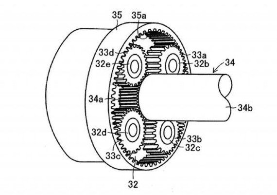
  • Από τότε η Yamaha επεξεργάζεται την υβριδική της πατέντα της οποίας η πιο πρόσφατη έκδοση βρίσκεται εδώ. Το επικρατέστερο σενάριο είναι πως η αρχή λειτουργία του υβριδικού συστήματος θα βασίζεται σε ένα σοφιστικέ πλανητικό σύστημα μετάδοσης που θα παντρεύει την ροπή του κινητήρα με εκείνη του ηλεκτροκινητήρα. Τα πρώτα στοιχεία λένε πως η στεφάνη θα είναι γεφυρωμένη με τον ηλεκτροκινητήρα μέσω ενός συμπλέκτη και θα είναι μόνιμα συνδεδεμένη μέσω καδένας με τα γρανάζια υποπολλαπλασιασμό και τον πίσω τροχό. Οι δορυφόροι θα παίρνουν κίνηση από τον ΜΕΚ και ο ήλιος θα είναι συνδεδεμένος με την γεννήτρια.

Nίκος Ι. Mαρινόπουλος

Πρόκειται για τον δημιουργό και συντονιστή του καρότου με τις περισσότερες τεχνολογικές βιταμίνες σε όλον τον κόσμο!

Αφήστε μια απάντηση

Η ηλ. διεύθυνση σας δεν δημοσιεύεται. Τα υποχρεωτικά πεδία σημειώνονται με *

Back to top button
Close

Xρησιμοποιείς ad blocker;

Οι διαφημίσεις μάς βοηθούν να κρατάμε το καροτάκι φρέσκο και δωρεάν. Αν σου αρέσει αυτό που διαβάζεις, βάλε μας στις εξαιρέσεις σου🙏