ΤΕΧΝΟΛΟΓΙΑ

“Δικινητήριο” υβριδικό σύστημα εξελίσσει η BMW

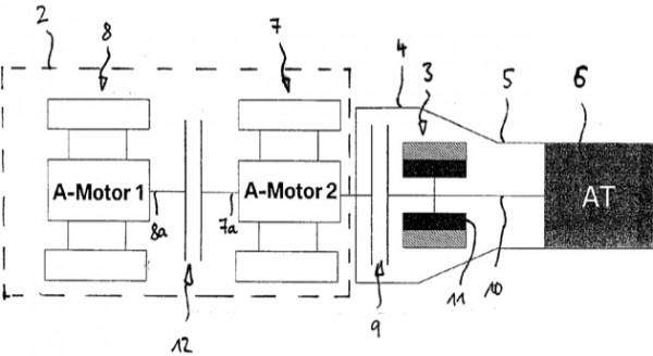
bmw-split-hybrid

Πολλές είναι οι εταιρίες που ψάχνονται τα τελευταία χρόνια στην υβριδική τεχνολογία. Όπως είναι, για παράδειγμα, η BMW που μετά το λανσάρισμα των υβριδικών X5 & X6 κατοχύρωσε μία νέα πατέντα. Ας μιλήσουμε για αυτή…

  • Σίγουρα δεν είναι η πρώτη, ούτε η τελευταία πατέντα καθώς οι υβριδικές διατάξεις παρουσιάζουν μεγάλη ευελιξία ως προς την θέση και συνδεσμολογία των στοιχείων τους. Μέχρι και η Ferrari ετοιμάζεται να παρουσιάσει μία υβριδική εκδοχή της 599 στο ερχόμενο σαλόνι αυτοκινήτου της Γενεύης -αλλά αυτή είναι μία άλλη ιστορία…
  • Η πρώτη προσπάθεια της ΒΜW στα υβριδικά έγινε με τις αντίστοιχες εκδόσεις των X5 & X6 μέσω του “κοινόχρηστου” συστήματος 2-mode. Μία σοφιστικέ διάταξη που είναι από τις πιο ολοκληρωμένες αλλά και από τις ακριβότερες αποθαρρύνοντας τους κατασκευαστές  που την εξέλιξαν να την εφαρμόσουν σε mainstream μοντέλα.
  • Έτσι, η BMW αναζητά ένα πιο κόμπακτ και με μικρότερο κόστος σύστημα το οποίο θα μπορούσε να είναι αυτό που βλέπετε στην εικόνα (εδώ ολόκληρη η πατέντα). Στη πατέντα γίνεται αναφορά για δύο δικύλινδρους βενζινοκινητήρες (split engine) που θα μπορούσαν να συνθέτουν μία μονάδα που θα συνεργάζεται με τον ηλεκτροκινητήρα. Επίσης, γίνεται υπόθεση πως ο ένας κινητήρας θα υποστηρίζει και θα υποβοηθά τον άλλο ενώ ο καθένας θα μπορεί να έχει διαφορετικό μέγεθος.
  • Μία λογική υπόθεση είναι να έχουμε π.χ. έναν V4 κινητήρα ή ένα επίπεδο τετρακύλινδρο -η BMW έχει μεγάλη εμπειρία στους boxer από τις μοτοσικλέτες- ο οποίος θα έχει την δυνατότητα να λειτουργεί “μισός” απενεργοποιώντας την μία σειρά κυλίνδρων. Δηλαδή, σε χαμηλές συνθήκες φορτίου να λειτουργεί ως δικύλινδρος και στις υψηλές ως τετρακύλινδρος. Η απενεργοποίηση ενός σκέλους κινητήρων σε διατάξεις V δεν είναι κάτι καινούργιο και την χρησιμοποιούν εδώ και χρόνια διάφορες εταιρίες όπως οι Honda, Chevrolet, Cadillac, Chrysler, Mitsubishi κ.α.
  • Μία άλλη υπόθεση είναι να έχουμε δύο κινητήρες διαφορετικής απόδοσης και χωρητικότητας και ανάλογα με τις συνθήκες κίνησης ο ηλεκτροκινητήρας να συνεργάζεται με τον μικρότερο ή τον μεγαλύτερο μέσω κάποιου στοιχείου σύμπλεξης. Εναλλακτικά, ο ηλεκτροκινητήρας μπορεί να συνεργάζεται μόνιμα με τον έναν ΜΕΚ και όταν χρειαστεί ο δεύτερος ΜΕΚ να προσφέρει… χείρα βοηθείας. Ενδιαφέρον ακούγεται, μένει να μάθουμε περισσότερα στοιχεία στους επόμενους μήνες…

Nίκος Ι. Mαρινόπουλος

Πρόκειται για τον δημιουργό και συντονιστή του καρότου με τις περισσότερες τεχνολογικές βιταμίνες σε όλον τον κόσμο!

Αφήστε μια απάντηση

Η ηλ. διεύθυνση σας δεν δημοσιεύεται. Τα υποχρεωτικά πεδία σημειώνονται με *

Back to top button
Close

Xρησιμοποιείς ad blocker;

Οι διαφημίσεις μάς βοηθούν να κρατάμε το καροτάκι φρέσκο και δωρεάν. Αν σου αρέσει αυτό που διαβάζεις, βάλε μας στις εξαιρέσεις σου🙏