ΤΕΧΝΟΛΟΓΙΑ

Επαναστατικός αερόσακος κολόνας από την Porsche

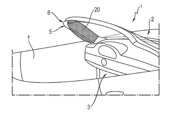
Μία νέα πατέντα φαίνεται να κατέθεσε η Γερμανική εταιρία, η οποία προορίζεται να αυξήσει την παθητική ασφάλεια των ανοικτών οχημάτων.

Η συγκεκριμένη ευρεσιτεχνία κατατέθηκε τον περασμένο Οκτώβριο στο αρμόδιο γραφείο Ευρεσιτεχνιών και Σημάτων των ΗΠΑ. Με βάση τα σχέδια, πρόκειται για έναν αερόσακο, ο οποίος ενσωματώνεται στην μπροστινή κολόνα (a pillar) του αυτοκινήτου. Η εκτίμηση είναι ότι ο συγκεκριμένος αερόσακος θα αφορά κατά βάση τα ανοιχτά της μοντέλα, χωρίς τίποτα να αποκλείει ότι δεν θα χρησιμοποιηθεί και στα κλειστά της αυτοκίνητα.

Η αφορμή για το συγκεκριμένο έχει να κάνει με τις δοκιμές πρόσκρουσης του αμερικάνικου οργανισμού ΙΙΗS, καθώς έχουν παρατηρηθεί περιπτώσεις όπου το κεφάλι του οδηγού μπορεί να ξεφύγει από την προστασία που προσφέρουν οι πλευρικοί αερόσακοι και να χτυπήσει στην εμπρός κολόνα. Με το νέο αερόσακο, το ενδεχόμενο αυτό ελαχιστοποιείται, μεγιστοποιώντας έτσι την προστασία του οδηγού σε περίπτωση σύγκρουσης.

Μιχάλης Κατωπόδης

Ένας ακόμα εραστής της αυτοκίνησης (sic) με προϋπηρεσία σε διάφορα περιοδικά -και sites-αυτοκινήτου.

Αφήστε μια απάντηση

Η ηλ. διεύθυνση σας δεν δημοσιεύεται. Τα υποχρεωτικά πεδία σημειώνονται με *

Back to top button
Close

Xρησιμοποιείς ad blocker;

Οι διαφημίσεις μάς βοηθούν να κρατάμε το καροτάκι φρέσκο και δωρεάν. Αν σου αρέσει αυτό που διαβάζεις, βάλε μας στις εξαιρέσεις σου🙏