
Η Ιαπωνική εταιρία κατέθεσε πριν από κάποιο διάστημα μερικές πατέντες που αφορούν περιστροφικούς κινητήρες. Τελικά οι Wankel θα επιστρέψουν στο προσκήνιο;
Το ότι υπάρχει πολύς κόσμος εκεί έξω -οπαδοί της φίρμας και όχι μόνο- που θα ήθελαν να ζήσουν την αναβίωση ενός RX-7, είναι γεγονός. Από την επιθυμία όμως του κοινού, μέχρι την υλοποίηση ενός νέου περιστροφικού κινητήρα, που να μπορεί να πληροί τις σύγχρονες προδιαγραφές ρύπων, η απόσταση είναι τεράστια. Παρόλα αυτά, οι πατέντες της Mazda που είδαν πρόσφατα το φως της δημοσιότητας, ίσως να μπορούν να γεφυρώσουν, σε ένα βαθμό, αυτό το χάσμα.
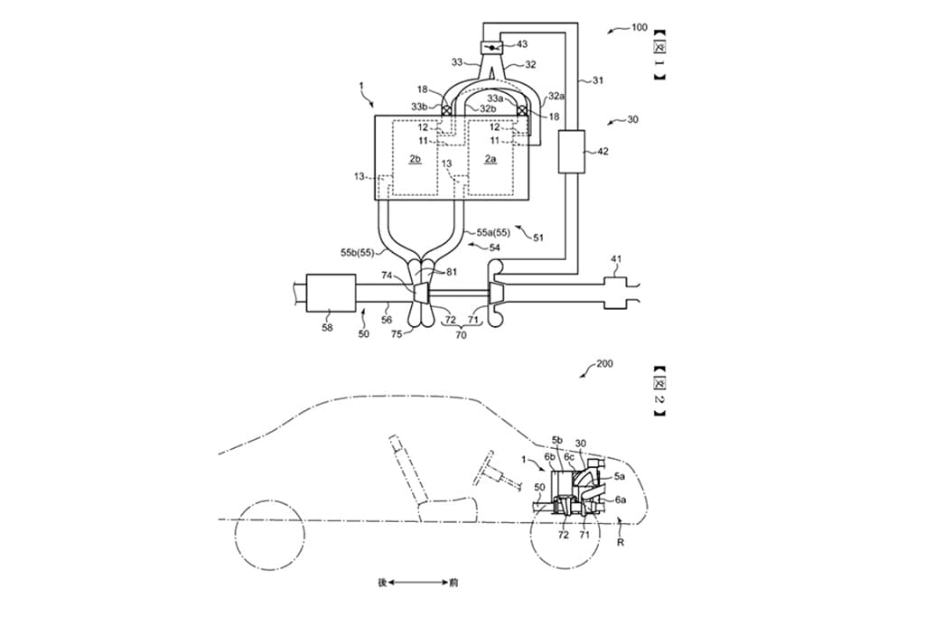
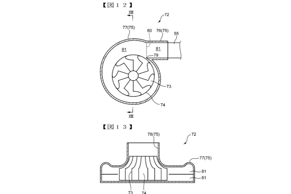
Στην προκειμένη περίπτωση μιλάμε για ένα νέο -πλευρικά τοποθετημένο- αγωγό εξαγωγής, ο οποίος μπορεί να βελτιώσει τη ροή του αέρα, καθώς και ένα νέας σχεδίασης turbo. Αυτά ίσως και να αφορούν ένα μικρό Wankel τον οποίο η εταιρία εξελίσσει με στόχο να αποτελέσει range extender για τα μελλοντικά ηλεκτρικά μοντέλα της. Να μην μεταφέρει δηλαδή ο ίδιος την ισχύ του στους τροχούς αλλά, αντιθέτως, να φορτίζει τους συσσωρευτές. Παρόλα αυτά, το αρχικό σχέδιο δεν φαίνεται να απεικονίζει κάτι τέτοιο. Με δεδομένη την επιθυμία της φίρμας να επιστρέψει κάποια στιγμή με ένα σπορ μοντέλο που θα φέρει κινητήρα Wankel, μπορούμε ίσως να ελπίζουμε ότι το 2020, χρονιά που θα γιορτάσει τα 100 της χρόνια, θα μας επιφυλάσσει και την αντίστοιχη έκπληξη…



