Το σύστημα βρίσκεται προς το παρόν σε πρώιμο στάδιο εξέλιξης, αν και σίγουρα θα το δούμε στα αυτοκίνητα της εταιρίας στο μέλλον, όσο και οι δυνατότητες αυτόνομης οδήγησης θα αυξάνονται ακόμα περισσότερο.
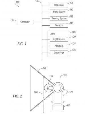
Η Ford κατέθεσε στις ΗΠΑ μία ευρεσιτεχνία η οποία αναφέρεται σε ένα σύστημα που μπορεί να ανιχνεύει τους πεζούς, να προσδιορίζει τις προθέσεις τους και στη συνέχεια να ενεργεί ανάλογα. Ο τελικός στόχος είναι να μπορούν τα αυτόνομα αυτοκίνητα να επικοινωνούν με τους κοντινούς χρήστες του δρόμου βελτιώνοντας την ασφάλεια τόσο για τους πεζούς όσο και για τους οδηγούς όλων των αυτοκινήτων.
Η Ford υποστηρίζει ότι δεν είναι κάτι ιδιαίτερα πρωτοποριακό, καθώς η τεχνολογία που απαιτείται για να συμβεί αυτό είναι ήδη τοποθετημένη στα αυτοκίνητα. Η αμερικανική αυτοκινητοβιομηχανία λέει ότι η τεχνολογία θα μπορούσε να λειτουργήσει όχι μόνο για τους πεζούς, αλλά και για τους ποδηλάτες και ακόμη και για άλλα συμβατικά οχήματα.
Για παράδειγμα, χάρη στις ενσωματωμένες κάμερες, ένα αυτοκίνητο με αυτόνομη οδήγηση θα μπορούσε να δει την κατεύθυνση του βλέμματος του πεζού. Με αυτόν τον τρόπο, το όχημα μπορεί να προβλέψει την επόμενη ενέργειά του, όπως τη διέλευση του δρόμου.
Για παράδειγμα, ένα αυτόνομο όχημα πλησιάζει σε διάβαση πεζών. Ένας κοντινός πεζός το κοιτάζει και μετά ελέγχει το δρόμο για εισερχόμενη κυκλοφορία. Οι κάμερες του οχήματος αναλύουν το βλέμμα και τις κινήσεις του πεζού και επεξεργάζονται τα δεδομένα για να αποφασίσουν αν ο πεζός πρόκειται να διασχίσει τον δρόμο.
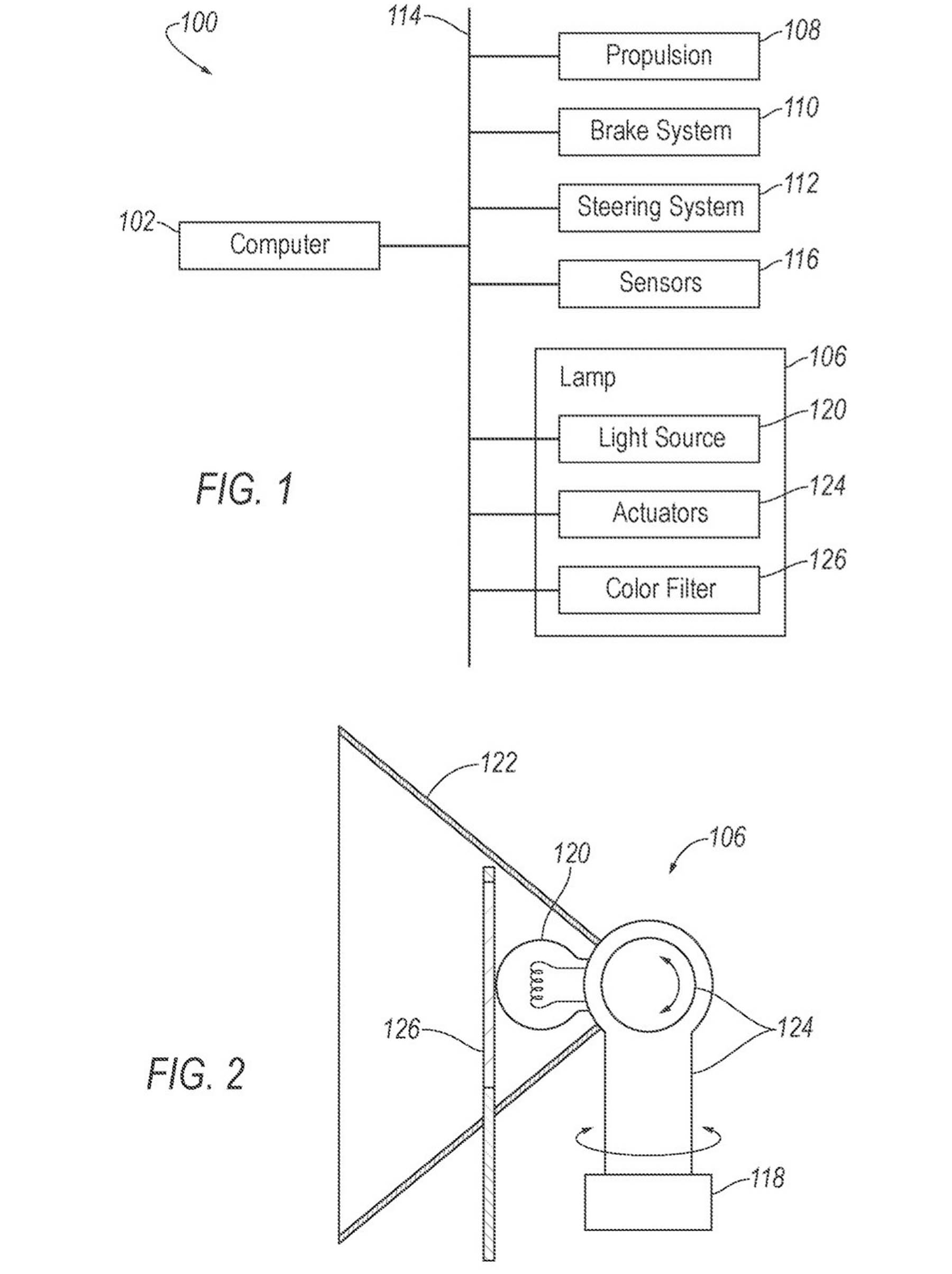
Τότε ενεργοποιεί αυτόματα τα φρένα για να σταματήσει το όχημα πριν τη διάβαση των πεζών. Επίσης, το όχημα μπορεί να εκπέμπει διάφορα οπτικά σήματα προς τον πεζό για να κάνει αισθητή την παρουσία του και το τι πρόκειται να κάνει και στα άλλα αυτοκίνητα που ακολουθούν.






