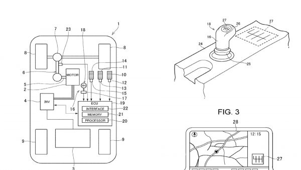
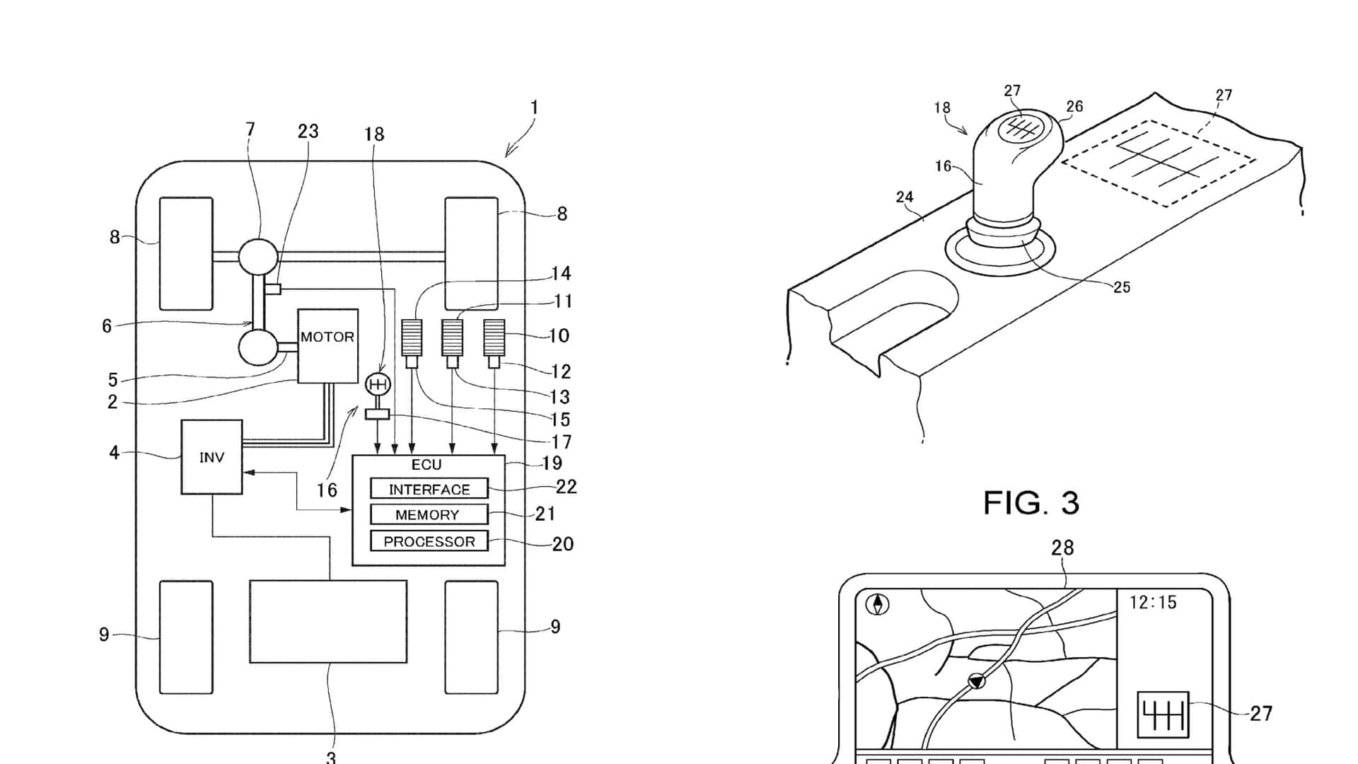
Οι Ιάπωνες εξελίσσουν ένα χειροκίνητο κιβώτιο ταχυτήτων για τα ηλεκτρικά της αυτοκίνητα που θα προσομοιώνει την λειτουργία των πραγματικών κιβωτίων για μια πιο αυθεντική οδηγικά εμπειρία.
Σε αντίθεση με τα παραδοσιακά χειροκίνητα κιβώτια ταχυτήτων με σταθερό αριθμό σχέσεων και κλιμάκωσης, μια πρόσφατη αίτηση διπλώματος ευρεσιτεχνίας από την Toyota υποδηλώνει ότι το προσομοιωμένο χειροκίνητο κιβώτιο ταχυτήτων θα μπορούσε ενδεχομένως να προσφέρει έως και 14 εικονικές ταχύτητες/ διαβαθμίσεις, παρέχοντας ένα πρωτότυπο επίπεδο ελέγχου στους οδηγούς.
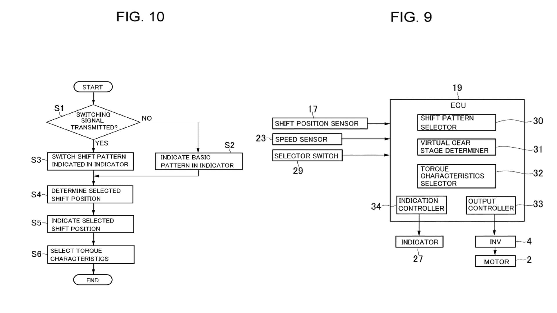
Η αίτηση διπλώματος ευρεσιτεχνίας εμβαθύνει στις ιδιαιτερότητες αυτού του καινοτόμου συστήματος, επιτρέποντας στους οδηγούς να επιλέγουν τον αριθμό των εικονικών διαβαθμίσεων/ ταχυτήτων με βάση το οδηγικό τους στιλ.
Το έγγραφο αναφέρει: «Ο αριθμός των διαβαθμίσεων των εικονικών ταχυτήτων μπορεί να είναι έξι βαθμίδες, περισσότερες ή λιγότερες. Ο οδηγός έχει τη δυνατότητα να επιλέξει την διαβάθμιση, σύμφωνα με τις προτιμήσεις του».
Παρόλο που ο οδηγός μπορεί να επιλέξει το επιθυμητό μοτίβο, δεν θα υπάρξει αντίστοιχη αύξηση του αριθμού των διαβαθμίσεων/ ταχυτήτων. Αντίθετα, θα υπάρχει ένας σταθερός αριθμός, για παράδειγμα έξι (η Toyota χρησιμοποιεί τέσσερις στο παράδειγμά της).
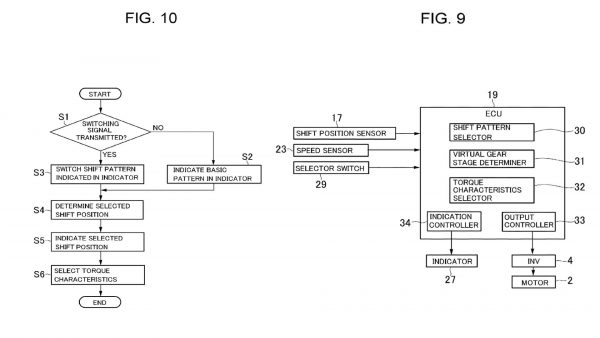
Μπορεί να ακούγεται κάπως μπερδεμένο αλλά το σύστημα αυτό θα προσφέρει με λίγα λόγια μία τεχνητή ψευδαίσθηση αλλαγής σχέσεων για οδηγική ευχαρίστηση. Μάλιστα, θα υπάρχει και ένδειξη αλλαγής σχέσης κοντά στον υποτιθέμενο «κόφτη» ή αυτόματη μετάβαση στην επόμενη.
Αν και η ιδέα ενός προσομοιωμένου χειροκίνητου κιβωτίου ταχυτήτων με έως και 14 ταχύτητες μπορεί να φαίνεται αρχικά συγκεχυμένη, η Toyota πιστεύει ότι προσθέτει ένα επίπεδο δέσμευσης και επιλογής για τους οδηγούς EV.
Τα παραδοσιακά επιβατικά αυτοκίνητα σπάνια ξεπερνούν τις επτά ταχύτητες λόγω πρακτικών περιορισμών, ειδικά όταν συνδυάζονται με κινητήρα εσωτερικής καύσης. Ωστόσο, με το ηλεκτρικό σύστημα μετάδοσης κίνησης, η Toyota στοχεύει να προσφέρει μια νέα και προσαρμόσιμη εμπειρία οδήγησης, ξεφεύγοντας από τα συμβατικά πρότυπα.







