Σε μία λογική που προσεγγίζει περισσότερο μαχητικό αεροσκάφος, προχωράει η Toyota για το νέο της hypercar. Ίσως όχι άδικα, αφού και το ίδιο αναμένεται να αποτελέσει τεράστιο όπλο στους δρόμους.
Ένα μεγάλο ευχαριστώ θα πρέπει να πούμε στους ανθρώπους του Automobile Club de l’Ouest, που διοργανώνουν τις 24 ώρες του Le Mans. Αυτό γιατί με την απόφασή τους να καταργήσουν την εξωτική κατηγορία των πρωτοτύπων LMP1 και να εισάγουν μία νέα κατηγορία hypercars που θα διαθέτουν και εκδόσεις δρόμου, οδηγούν αρκετούς κατασκευαστές στη δημιουργία ανάλογων οχημάτων.
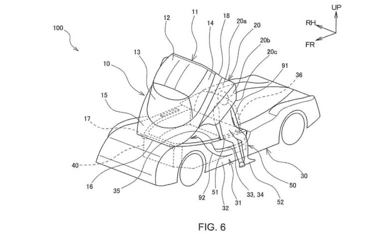
Στην προκειμένη περίπτωση θα μιλήσουμε για την Toyota και το GR Super Sport (GR από το Gazoo Racing, μην πάει ο νους σας σε τίποτα πιο πατριωτικό…). Τα σκίτσα μίας πατέντας που βγήκε στη δημοσιότητα δείχνουν ένα σπορ αυτοκίνητο, το οποίο δεν διαθέτει πόρτες για την είσοδο και έξοδο των επιβατών αλλά καλύπτρα! Μία τέτοια προσέγγιση πιθανά δεν θα είναι ό,τι πιο βολικό σε επίπεδο πρακτικότητας, ενισχύει όμως υπέρμετρα τη στρεπτική ακαμψία του πλαισίου και παράλληλα μπορεί να περιορίσει σημαντικά το βάρος.
Αναφορικά με το ίδιο το αυτοκίνητο, υπενθυμίζουμε πως η παραγωγή του έχει αποφασιστεί από τον Ιούνιο του 2019, καθώς η Toyota κέρδισε τις πρώτες της νίκες στο Le Mans και θέλει και δείχνει να διψάει για περισσότερες. Για να συμμετάσχει, ωστόσο, στην κατηγορία των hypercars, θα πρέπει να παράγει 20 τουλάχιστον αντίτυπα για χρήση σε δρόμο, τα οποία και θα διαθέσει σε ανάλογους τυχερούς.
Λογικά, μέσα στους επόμενους μήνες θα γνωρίζουμε περισσότερα. Το GR Super Sport, άλλωστε, θα ξεκινήσει τις πρώτες του δοκιμές σε πίστα τον προσεχή Οκτώβριο. Μένει επίσης να μάθουμε και τι κινητήρα θα φοράει. Σαν πρωτότυπο, οι τεχνικοί της φίρμας το είχαν εφοδιάσει με το υβριδικό σύνολο του αγωνιστικού TS050 Hybrid LMP1, που συνδύαζε ένα twin-turbo V6 των 2,4 λίτρων και ηλεκτροκινητήρες, συνολικής απόδοσης 986 PS. Αυτό όμως, το πιο πιθανό, είναι είτε να εξελιχθεί, είτε να αλλάξει.

