Μία νέα πατέντα που δημοσιεύθηκε στο γερμανικό γραφείο ευρεσιτεχνιών περιγράφει τον σχεδιασμό της Porsche για την αύξηση της απόδοσης και της αποδοτικότητας του υπερσυμπιεστή με την -κατά κάποιο τρόπο- ανακύκλωση της πλεονάζουσας πίεσης υπερπλήρωσης και των καυσαερίων που διαφορετικά θα πήγαιναν χαμένα. Αλλά όχι με τον τρόπο που ήδη γνωρίζουμε.
Τον Ιανουάριο είχαμε γράψει για μία πατέντα όπου ο άξονας του συμπιεστή και των στροβίλων εξαγωγής συνδέεται με μια γεννήτρια που τροφοδοτεί έναν ηλεκτροκινητήρα, ο οποίος ανακατευθύνει την ενέργεια πίσω στον συμπιεστή και πάλι, χρησιμοποιώντας την αποθηκευμένη ηλεκτρική ενέργεια που συλλέγεται από τα καυσαέρια για την αποτελεσματική μείωση της υστέρησης του turbo. Περίπου επτά μήνες μετά, η Porsche ανακοίνωσε εξέλιξη της όλης ιδέας μαζί με άλλες παρόμοιες.
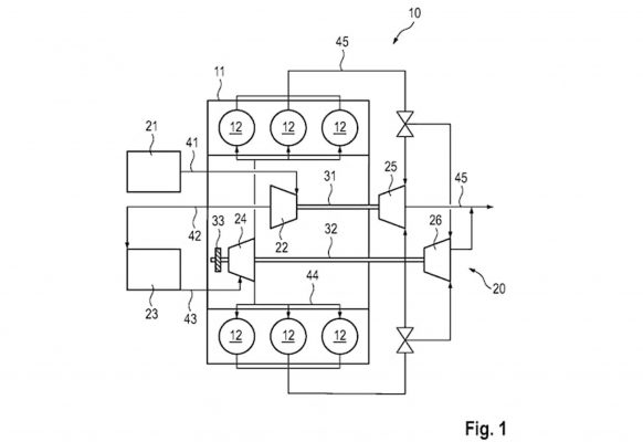
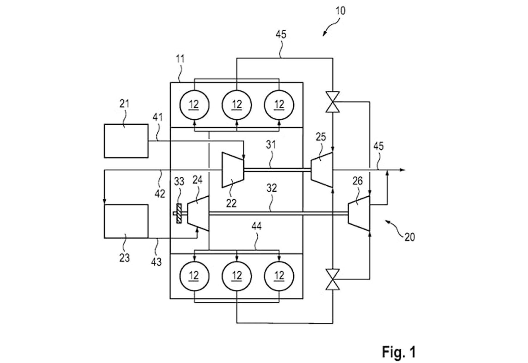
Αυτή η νέα εφεύρεση βασίζεται στην ιδέα της συγκέντρωσης ενέργειας από τον υπερσυμπιεστή, αλλά αντί ο άξονας της τουρμπίνας να τροφοδοτεί μια γεννήτρια, αυτή εδώ παρουσιάζει τα καυσαέρια να χωρίζονται σε δύο κανάλια. Το ένα τροφοδοτεί τον συμβατικό στροβιλοσυμπιεστή που συμπιέζει το φορτίο εισαγωγής στον κινητήρα, ενώ το άλλο κανάλι τροφοδοτεί ουσιαστικά έναν άλλο (πιθανότατα πολύ μικρότερο) στροβιλοσυμπιεστή, ο οποίος όμως δεν τροφοδοτεί απευθείας το σύστημα κίνησης – τουλάχιστον όχι συνεχώς.
Διαχωρισμός των καυσαερίων τούρμπο
Τα αέρια που εξέρχονται από την κυλινδροκεφαλή μετά την καύση διαιρούνται από ένα κανάλι δύο κατευθύνσεων- το ένα κανάλι τροφοδοτεί το κανονικό τούρμπο και το άλλο τον δευτερεύοντα συμπιεστή μας. Αντί αυτός να σπρώχνει τον πυκνό αέρα πίσω, το δευτερεύον “τούρμπο” είναι συνδεδεμένο με ένα πλανητικό γρανάζι που είναι στερεωμένο σε έναν αποδέκτη ενέργειας. Ως εκ τούτου, η συλλεγόμενη ενέργεια μπορεί είτε να μετατραπεί σε αποθηκευμένη ηλεκτρική ενέργεια είτε να χρησιμοποιηθεί άμεσα.
Βασικά, έχετε δύο παράλληλα συστήματα που μοιάζουν με τουρμπίνα. Το ένα συλλέγει και χρησιμοποιεί την ενέργεια παραδοσιακά, ενώ το άλλο μπορεί είτε να την αποθηκεύσει είτε να την επαναδρομολογήσει.
Τα κύρια συμπεράσματα αυτής της τεχνολογίας είναι τα εξής. Η Porsche έχει βρει έναν τρόπο να χειρίζεται την ώθηση χωρίς να επηρεάζει το wastegate του πρωτεύοντος υπερσυμπιεστή και επομένως μπορεί να μεγιστοποιήσει την απόδοση του υπερσυμπιεστή. Αυτό το σύστημα υποδηλώνει ότι το τούρμπο μπορεί να γίνει έτσι ώστε να μη σπαταλά σχεδόν καθόλου ενέργεια (εκτός από τη θερμότητα).
Εάν η υπερπλήρωση του τούρμπο αυξηθεί, ο κινητήρας δεν πλήττεται από ένα ξαφνικό κύμα ροπής που λυγίζει τις ράβδους σύνδεσης. Όταν το τούρμπο δυσκολεύεται κάπως να παράγει επαρκή ώθηση, το δευτερεύον “τούρμπο” που έχει εξοικονομήσει όλη αυτή τη σπαταλημένη ενέργεια το βοηθάει αυξάνοντας τη ροή προς την ολομέλεια εισαγωγής. Αυτή η ιδέα θα μπορούσε να ενσωματωθεί με την άλλη πατέντα που αναφέραμε στην αρχή για ακόμη πιο εκπληκτική απόκριση στο γκάζι και αποτελεσματικότητα.
Η Porsche μπορεί να χρησιμοποιήσει ένα μεγαλύτερο turbo και να το κάνει να αισθάνεται λιγότερο καθυστερημένο. Ή μπορεί να χρησιμοποιήσει ένα μικρότερο τούρμπο και να διασφαλίσει ότι παρέχει πάντα μεγαλύτερη απόδοση από ένα τούρμπο συγκρίσιμου μεγέθους παραδοσιακής σχεδίασης. Για παράδειγμα, μία αγωνιστική Porsche 911 Turbo θα μπορούσε να ανέβει Pikes Peak χωρίς καμία ειδική ρύθμιση.
Η Porsche έχει υποσχεθεί ότι η υβριδική 911 δεν θα είναι plug-in. Για αν δούμε, τι θα δούμε…




